RSK-LT Простая установка эластичной муфтовой муфты со штифтами и эластичными втулками
Это неметаллическая муфта с гибким элементом, передающая крутящий момент через штифты и упругие втулки.
Его основной принцип работы использует сжимающую деформацию резиновых (или полиуретановых) эластичных втулок для передачи крутящего момента и использует их эластичность для компенсации несоосности, поглощения вибрации и ударов. Благодаря своей простой конструкции это одна из наиболее широко используемых муфт в области трансмиссий малой и средней мощности, от средней до низкой скорости, часто называемая "Стандартной муфтой".
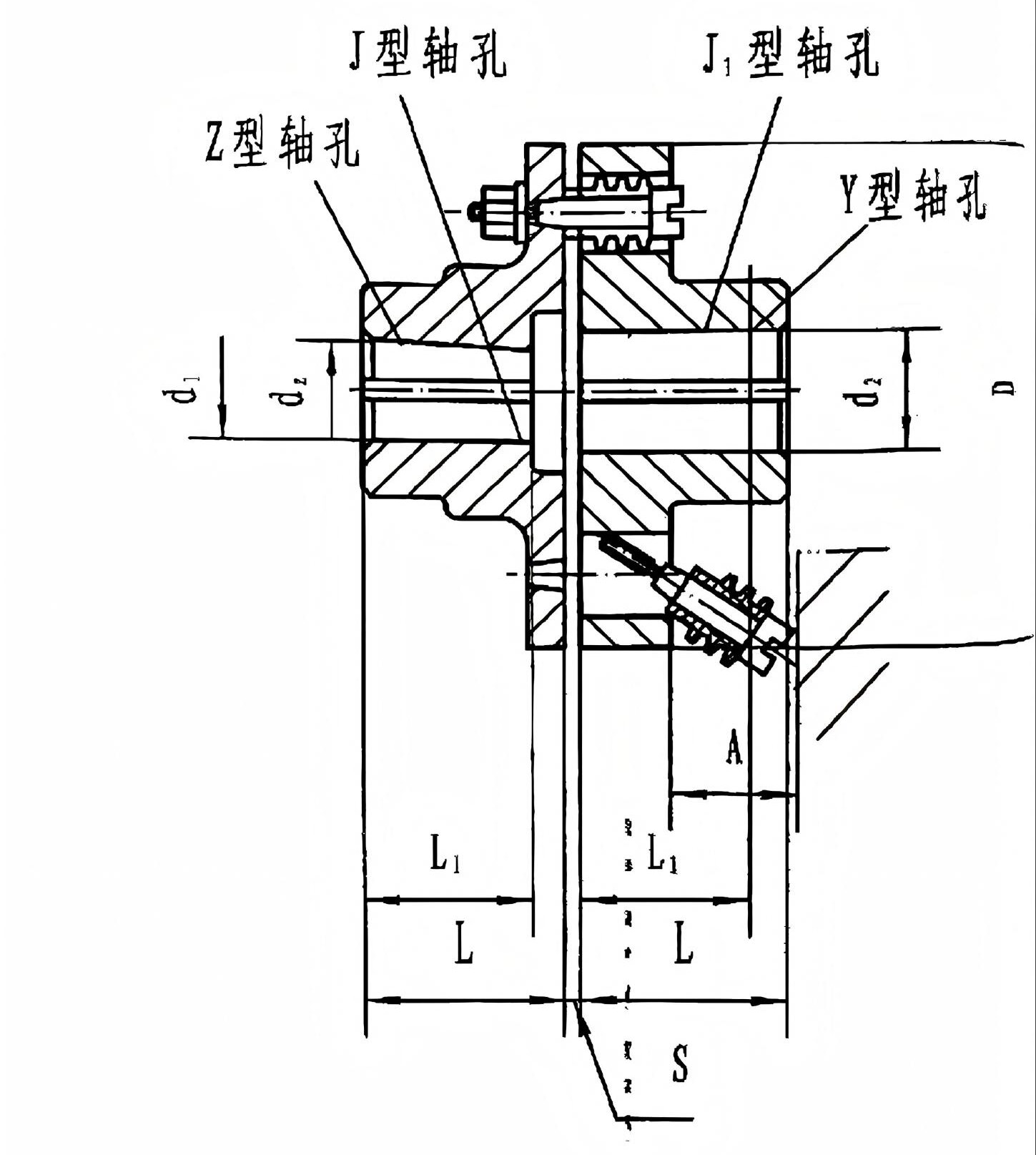
Конструкция муфты типа LT очень проста и состоит в основном из следующих компонентов:
Две полумуфты: обычно изготавливаются из чугуна (HT200) или литой стали (ZG270-500), напоминают фланцы с кольцом отверстий для штифтов по периферии.
Эластичная втулка (втулка): основной компонент. Обычно изготавливается из резины или полиуретана и имеет цилиндрическую форму с фланцем. Он устанавливается в шплинтовые отверстия ведомой полумуфты. Штифт проходит через центральное отверстие упругой втулки, тем самым гибко соединяя две полумуфты.
Стопорная пластина (дополнительно): используется для осевой фиксации эластичных втулок и предотвращения их выпадения.
Структурное исполнение:
За счет зазора между эластичной втулкой и круглым отверстием на фланце полумуфты, а также деформации эластичной втулки муфта имеет определенную степень компенсации относительного смещения и характеристик амортизации.
Ключевые характеристики:
Простая структура, низкая стоимость
Небольшое количество деталей, продуманный производственный процесс, очень низкие производственные затраты и цена, обеспечивающие выдающуюся экономичность.
Не требуется смазка, простота обслуживания
Не содержит пар трения с относительным скольжением, не требует добавления масла или смазки, считается необслуживаемой муфтой (требует только периодического осмотра).
Обладает некоторой компенсационной и демпфирующей способностью.
Простая установка
Резиновая эластичная втулка может обеспечить определенную степень электроизоляции.
Основные области применения:
Тип LT представляет собой классическую "экономичную" муфту общего назначения , подходящую для нетребовательных применений с низкими требованиями к точности передачи и динамическим характеристикам, умеренной мощности и относительно чистой среде, например:
Соединения между двигателями и приводными машинами в вентиляторах, насосах и другом общем оборудовании (наиболее распространенные).
Легкие конвейеры, миксеры, сельскохозяйственная техника.
Малые и средние компрессоры, генераторные установки.
Различное легкое промышленное оборудование , стоимость которого является чувствительным фактором.

English












