Тип RSK-AL Вогнутая шинная муфта, передача высокого крутящего момента и компенсация смещения в разных направлениях.
Наши водонепроницаемые и пыленепроницаемые шинные муфты предназначены для работы в суровых рабочих условиях и при этом могут стабильно работать в суровых условиях, таких как влажность и пыль. Он использует специальные процессы и материалы для эффективного предотвращения проникновения воды и пыли, обеспечения отсутствия коррозии внутренней структуры и значительного продления срока службы.
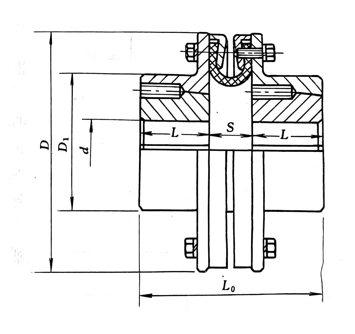
Для передачи крутящего момента в муфте используется высокоэластичное кольцо шины, которое может превосходно компенсировать осевое, радиальное и угловое смещение между двумя валами, а также обладает высокой способностью адаптироваться к ошибкам установки оборудования и смещению вала во время работы. Его превосходные характеристики буферизации и амортизации позволяют значительно снизить удары и вибрацию оборудования во время работы, обеспечить плавную работу оборудования, уменьшить износ деталей и, таким образом, снизить затраты на техническое обслуживание. В то же время эта функция также позволяет эффективно снизить пиковый ток во время работы оборудования. По сравнению с другими муфтами снижение может достигать 50%, что помогает экономить энергию и защищать электрическую систему.
С точки зрения конструкции он прост и компактен, не требует смазки и позволяет избежать загрязнения и проблем с обслуживанием, вызванных утечкой смазки. Ежедневная сборка, разборка и обслуживание просты и удобны. После того как ось главного двигателя выровнена один раз, главный двигатель не нужно перемещать при замене упругого элемента. Операцию можно завершить быстро, сэкономив много времени и рабочей силы.
Эта муфта широко используется в горнодобывающей, металлургической, текстильной, водяной насосной и других отраслях промышленности и может стабильно работать в диапазоне температур от -20 ℃ до 80 ℃. Будь то среда с сильным воздействием горного оборудования, пыльная среда текстильных мастерских или длительная влажная рабочая среда водяных насосов, он может продемонстрировать надежную работу и обеспечить надежную гарантию эффективной работы оборудования.

English












